电商云【WLN.26A.TOP】
系统管理
商城设置
基本信息
图标设置
显示设置
短信通知
邮件通知
运费规则
包邮规则
快递单打印
小票打印
区域限制购买
起送规则
退货地址
小程序管理(开启配置教程)
微信小程序
首先【基础配置】:完成小程序关联商城后台及配置微信支付
模板消息
群发模板消息
单商户小程序
小程序发布
支付宝小程序
开发者入驻
小程序开发准备以及开发者工具
支付宝运营规范
支付宝审核规范及相应处理
基础配置
支付宝小程序/模板消息
支付宝小程序商城需要签约的产品
轮播图
导航图标
图片魔方
导航栏
首页布局
用户中心
下单表单
页面管理
小程序页面
页面标题设置
DIY装修
模板管理
自定义页面
商品管理
商品编辑
分类
淘宝CSV上传
订单管理
订单列表
自提订单
售后订单
评价管理
订单消息提醒
用户管理
用户列表
核销员管理
会员等级管理
分销中心
分销设置
分销商管理
分销订单管理
提现管理
小程序分销中心说明
内容管理
文章管理
专题管理
视频管理
门店管理
营销管理
优惠券
卡券
充值
应用专区
整点秒杀
拼团管理
预约管理
裂变拆红包
多商户
积分商城
九宫格抽奖
刮刮卡
砍价
幸运抽奖
步数宝
权限管理
角色管理
操作员管理
系统工具
缓存
权限设置
上传设置
七牛云
阿里云oss
腾讯云
小程序发布教程
快速购买页设置
关注公众号组件
流量主开通
好物圈功能
未来鸟:企业数字化转型奔腾的力量!
-
+
首页
九宫格抽奖
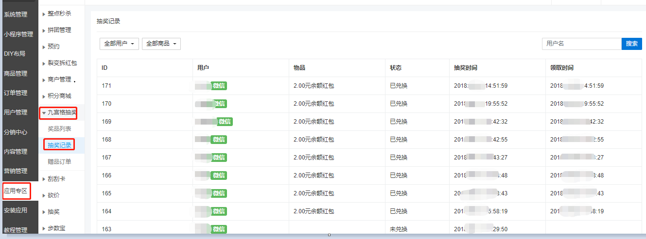
### 九宫格抽奖 #### 第一:抽奖设置 ##### 点击奖品列表  设置中奖几率:万分之xx 注意:该中奖几率是指每次抽奖的中奖几率,先判断该次抽奖是否中奖,在中奖的情况下,从有库存的奖品中随机抽取,库存越大,几率越高。 ##### 抽奖规则设置: 一天N次 指每个人每天的抽奖次数; 一人N次 指每个人该次活动时间内一共能抽奖次数 ##### 点击奖品设置到奖品设置页面  奖品可设置谢谢参与(默认),余额红包(余额),优惠券,积分,赠品(商城商品) 可设置库存,抽中既减少库存,注意:商品中奖之后发货是根据该商品管理中的库存去判断,诺该商品没有库存,会提示无法兑换 设置好商品之后,使用导航图标/魔方/轮播图设置连接 必须要2.5.8之后的版本重新上传审核通过才能使用 #### 第二:抽奖记录 用户抽奖记录列表  #### 第三:赠品订单 所有用户中商品之后兑换发起的订单列表 
未来神鸟
2021年1月12日 09:42
转发
收藏文档
上一篇
下一篇
手机扫码
复制链接
手机扫一扫转发分享
复制链接
Markdown文件
Word文件
PDF文档
PDF文档(打印)
分享
链接
类型
密码
更新密码
有效期
AI